Exklusiv

Wie moderne Fahrzeugarchitekturen die Verbindungstechnik neu definieren

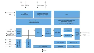
Der Kabelbaum wandelt sich vom reinen Energieverteiler zu einer komplexen Dateninfrastruktur, und die Verbindungstechnik übernimmt dabei eine Schlüsselrolle für Leistungsfähigkeit und Architektur moderner Fahrzeuge. Im Gespräch mit AEEmobility beleuchten drei Experten von TE Connectivity (TE), wo derzeit die Herausforderung sind und wie das Unternehmen diesen Wandel technisch begleitet.

[…]